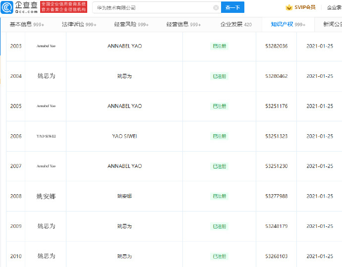
12 月 3 日消息,近期,华为技术有限公司成功注册姚思为、YAO SIWEI、ANNABEL YAO 商标,商标国际分类涉服装鞋帽、方便食品等。企查查 App 显示,华为目前也已经完成了姚安娜商标的注册。


公开资料显示,姚安娜 1998 年 1 月 14 日出生于云南昆明,是华为主要创始人任正非的小女儿,本科毕业于哈佛大学电脑工程和统计数据专业。原名姚思为,在国外读书用名为 Annabel Yao。
华为公司注册这些商标,一方面很可能与公众人物商标频频被无关企业恶意抢注有关。尤其对于知名公众人物而言,商标关乎其商业资产归属问题,而任正非一向十分关心女儿的事业前景,还曾亲自前往姚安娜签约的“天浩盛世娱乐”详细了解其演艺规划,自然也会考虑到有关女儿的产权保护问题。