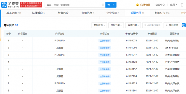
12 月 28 日消息,信息显示,12 月 17 日,盒马(中国)有限公司申请注册多个“屁股脸”“PIGULIAN”商标,国际分类涉及广告销售、服装鞋帽等,目前商标状态均为申请中。


据悉,盒马 IP“盒马先生”经常被网友戏称为“屁股脸”。

12 月 28 日消息,信息显示,12 月 17 日,盒马(中国)有限公司申请注册多个“屁股脸”“PIGULIAN”商标,国际分类涉及广告销售、服装鞋帽等,目前商标状态均为申请中。


据悉,盒马 IP“盒马先生”经常被网友戏称为“屁股脸”。

2022-08-12
2022-08-12
2022-08-12