遵守中华人民共和国宪法、法律、法规,具有良好的业务素质和道德品行,并符合学历、专业及工作年限要求的人员,就可以报名参加2024年一级消防工程师考试。
2024年一级消防工程师报考要求
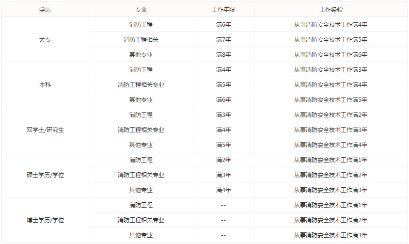
一是学历条件。一级资格考试报考人员为大学专科以上学历。
二是实践经验。要求报考注册消防工程师的人员不仅需要掌握专业理论知识,而且需要具备一定的消防安全技术工作实践经验。
具体要求如下:

2024年一级消防工程师报名时间
根据《2024年度专业技术人员职业资格考试重要提示》可知,2024年一级消防工程师考试报名时间预计为9月1日至20日。各地报名时间有所差异,详细时间以本地考试管理机构发布通知为准。

2024年一级消防工程师报名方式
一级消防工程师报考方式只有一种,是网上报名。大家需根据所在地考试流程,在报名时间内登录全国专业技术人员资格考试报名服务平台或中国人事考试网,完成注册、网上报名信息填写、资格审核、网上缴费等步骤,完成报名。缴费成功后,表明一消报名工作已全部结束。
2024上半年心理咨询师考试多少分合格?成绩滚动吗?
在心理咨询师考试中,考生需要达到的合格分数线为60分。这意味着考生需要在理论知识和技能操作两个考试部分均获得60分及以上,方可被判定为考试合格,获取心理咨询师基础培训合格证书,根据规定心理咨询师考试成绩不滚动。
2024-05-09
2024年执业药师考试报名条件和考试时间安排
2024年执业药师考试预计将于6月20日至7月10日开始报名,考试报名条件有专业、学历和工作年限限制,考生须根据自身情况判断是否符合报名条件,2024年执业药师考试时间安排在10月19日、20日,考生需要合理安排备考时间。
2024-05-09
2024年cpa考试时间和准考证打印时间
2024年注会专业阶段考试时间为8月23日至25日,综合阶段考试时间为8月24日。准考证打印时间是8月5日-8月20日,考生要在规定的时间
2024-05-09
2024年内蒙古录用特殊职位公务员部分拟录用人员名单公示(二)
近日,内蒙古人事考试网发布了《关于内蒙古自治区2024年度考试录用特殊职位公务员部分拟录用人员的公示(二)》,从中可知,2024年内蒙古录用特殊职位公务员部分拟录用人员名单(二)公示时间为5月8日至13日,请广大考生点击查看。
2024-05-09